+86-318-5227227
Home > Technology > Analysis on Isolation Layer Construction Technology of Columns’ Top Isolation Complex Building
Abstract: The construction quality of isolation layer is the key point and difficulty of the quality control of seismic isolation building. The article takes the construction process by a bottom column story isolation comprehensive building of Xiamen as a case.According to the field tracking record, this paper analyzes the reinforced concrete construction process of the bottom floor independent columns, upper and lower support piers of isolation bearings, and upper supporting pier beam slab structure of isolation layer. It focuses on the analysis of the upper and lower pre-buried plate and isolation bearing installation and construction measures. And the construction methods of upper and lower pier concrete are proposed to ensure the concrete compactness and reliability, meanwhile, construction and coordination should be filled between the designers and the workers during the construction to solve the problems that node-reinforced and partially designed construction may affect construction quality.
1.Introduction
Isolation technology is mainly to add an isolation layer in the building foundation or the lower structure and the upper structure to make the building foundation or the lower structure and the upper structure connect flexibly, so that can effectively reduce the earthquake energy directly transmission to the building structure. The installation of the isolation layer increases the building damping and prolongs the self-vibration periods. So that the building can be away from the ground motion of the earthquake, significantly reduce the seismic response. When earthquake happens, the structure of the upper part of the building is almost stationary, with effectively protection of internal staffs safety and equipment so as to reduce property losses. Isolation technology, as one new seismic technology is more in-depth researching in domestic and foreign. The application of the technology has been fully tested and approved, and widely used in practical engineering. According to the China Survey and Design Association incomplete statistics, by the end of 2016, there are more than 4,000 isolation buildings(including under construction) in China, mainly distributed in Yunnan, Sichuan, Gansu, Xinjiang and Jiangsu Provinces. According to the Fuzhou University statistics, by the end of 2016, Fujian Province has built about 26 isolation buildings(including under construction),which the total construction area has been more than 160,000 square meters.
Most of the isolation buildings are designed in the form of base isolation. As shown in Figure 1 (a), the form of inter layer isolation is also common, with the isolation layer installed at the top of the bottom pillar or the bottom of the large chassis tower as the main representative form. For example, in the engineering practice of Fujian Province, the isolation layer of most of the ground open buildings are installed at the bottom of the isolation pillar. As shown in Figure 1 (b).

Figure 1 Two isolation forms
The construction quality of the isolation layer of the isolation buildings is the key that affects the isolation effect. In 2015, the Ministry of Housing and Urban Construction promulgated the “Code for construction and acceptance of building isolation works” (referred to as the "Code for isolation construction"),and implemented on December 1 at the same year .The Department of Housing and Urban Construction of Fujian province issued the "Code for Construction and Acceptance of Seismic Bearing and Installation of Buildings in Fujian province" (referred to as the "Code for isolation construction in Fujian province"),and further promote the popularization and application of the isolation technology in Fujian Province.
At present, the construction quality of the isolation layer was studied by many scholars. Jiang Dili introduced the choice of key construction methods for seismic construction, and put forward the protection measures of isolation bearing through the engineering research of rubber bearing isolation technology in a Beijing office building from the location control of the lower pre-buried plate, the prevention position impact of the lower pre-buried plate during pouring concrete, high-strength bolts pre-twisted and the protection of the lower pre-buried plate and so on.
Through the analysis of seismic isolation construction characteristics, Yin Xupeng and other people summed up the isolation building construction problems combining with construction quality acceptance criteria and technical methods to make a basic research on the preparation of engineering construction quality criteria. Xie Qi proved the defects of the dislocation bearing .He adopted plate position, bearing twist, angle steel fixing, bearing pollution, benzene board protection and other methods to achieve good results during the isolation building construction process.
However, the above-mentioned literature on the construction technology of isolation building construction is relatively broad. There are few detailed analysis on the construction of the key parts of the isolated building. This article takes a comprehensive building in Xiamen as an example, through the practice of tracking the entire isolation layer construction to make a detailed analysis on construction technology of isolation layer in the isolation building, which can provide reference for the similar construction of isolation building.
2. Project Overview
The project is Xiamen forest security bureau Tongan rescue team complex building, which is a 5 storey building with the total area of 2208.30㎡.The bottom layer is for isolation and an open space, two to five are police rooms and the roof is elevator room. The height of the bottom, the second and the others are 2.80m, 3.90m and 3.60m. The total height of the building is 17.65 m. The plane, section and the south facade after completion are shown in Figure 2.Cast-in-place reinforced concrete frame structure is with transverse two spans and longitudinal 5 spans.
The construction phase is from 2011 to 2012 .This article elaborates the construction technology of the project according to the construction practice at the time and the existing JGJ360 -2015"Code for construction and acceptance of building isolation works". The project uses the bottom pillar isolation, the bottom has total 16 independent columns, each pillar set up one isolation bearing, and arrange two LNR 400 bearings, two LNR 500 bearings, four LNR 600 bearings, six LRB400 bearings and two LRB 500 bearings, which LNR means natural rubber bearing and LRB means lead rubber bearing. The isolation bearing arrangement is shown as Figure 3. At the same time, based on the design drawings and construction drawings review conclusions, the wind resistance design of the isolation layer meets the requirements.

(a) Bottom floor plan

(b) 3 to 5 floor plan

(c) Section view

Figure 1 Two isolation forms

(d) South elevation
Figure 2 Building plan, profile and elevation

Figure 3 arrangement plan isolation bearing
3.Introduction of the bottom pillar inter layer isolation structure system
The bottom pillar isolation structure divides the whole building structure into three parts:the upper structure second floor and above, and the isolation layer and the lower structure. The overall structural components are arranged as shown in Figure4.Which the lower structure must withstand the earthquake internal forces, the foundation does not belong to the lower structure. The requirements of basic design in accordance with the "anti-seismic specification" do not need to improve the standard and can be designed according to the requirements of seismic structure.

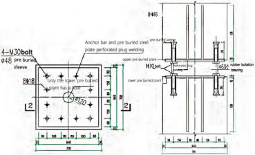
Figure 4 isolation layer pre-buried parts drawing
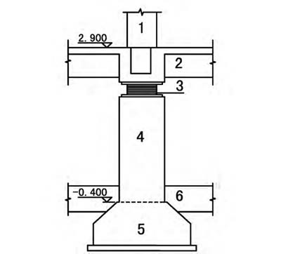
In the figure 5, No.3 is the isolation bearing, the corresponding upper and lower concrete components are the upper supporting pier and the lower pier. No.4 is bottom independent column, also called the lower pier.No.2 beam column cross node is the upper supporting pier. So from Figure 5, isolation bearing and its pre-buried parts of the installation, the concrete quality of the lower supporting pier and the upper supporting pier are the main control factors of the construction.

Figure 5 Schematic diagram of structural member arrangement
4. Analysis of isolation layer construction technology
There are some differences between the construction technology of isolated buildings and traditional buildings, the construction of isolated buildings is much more difficult than traditional buildings,especially the relevant technical unit guidance needed in the construction of the isolation layer Thanks to the technical guidance from College of Civil Engineering, Fuzhou University, this special construction program has been developed completely.) This construction program needs to be audited by the owners, the designers and the supervision the management units and then implemented by the construction unit.
4.1 Bind the lower supporting pier steel bar
The independent column has no pulling beam, the parts of the lower supporting pier includes column longitudinal steel bars and stirrups, column pier structural steel bars and pre-buried plate anchor bars and other steel bars. As shown in Figure 6.

Figure 6 The upper and lower supporting pier steel bar arrangement drawing
The steel bars in the joints of the lower supporting pier (column) are dense, and the well-shaped ferrule for individual column is shown in Figure 7 (a).There is a conflict with the location of the lower plate sleeve or anchor bar. The construction plan has been fully studied and communicated with the designers and supervising engineers. According to the site and actual situation, the design change documents shall be issued by the design department. And finally, under the condition that the number of stirrups is fixed, the stirrups are arranged by changing shape. As shown in Figure 7 (b), this is a diamond stirrup. In this way, it is favorable for the feeding of the lower supporting pier concrete and guaranteed the concrete pouring quality of the lower supporting pier.

Figure 7 Schematic diagram of the independent column
The main bars may be welded by means of threaded or welded in order to avoid the overlap at the bar. The reinforcing bar binding diagram of the lower supporting pier is shown in Figure 6.It should be noted that the length of the steel bar shall not be lower than the lower edge of the lower pre-buried plate.
4.2 Installation of lower pre-buried parts
The installation of the lower pre-buried plate is the control points of construction quality. The main methods of installation positioning are as following: (1) Short steel bar combined with the wedge - shaped wooden block positioning methods. (2) Steel bar positioning methods. (3) The combination of anchor bolts and steel mesh positioning methods. (4) Special stent and styling die positioning methods.
In the process of construction, it is reference to the construction methods of several isolation buildings in Xiamen. The installation of the lower pre-buried plate is still using short steel bar combined with wedge-shaped wooden block positioning methods.
First of all, hang the pre-buried parts to the top of the supporting pier using the wheeled car. Drop the pre-buried parts on the elevation position which has determined and calibrated by level and theodolite in advance. And then, on the basis of the pre-buried parts elevation which is controlled by the short steel bar, use the wedge-shaped block to make fine adjustment. After the proof of design standards meet the requirements, complete the fixing of the lower pre-buried plate. The fixed installation of the pre-buried parts is shown in Figure 8.

Figure 8 The fixed installation of the pre-buried parts
4.3 The concrete pouring of the lower supporting pier
After the acceptance of the lower pre-buried plate is qualified, the concrete of the lower supporting pier is started to be poured. In order to avoid the concrete residue into the sleeve during the process of concrete pouring, it is necessary to do the bolt hole protection work before concrete pouring. This project uses tapes to protect the sleeve and bolt seal. The protection practices are shown in Figure 9.
The strength degree of the independent column is C 30.According to requirement of construction drawing, the concrete of lower supporting pier uses C35 fine stone concrete, that is, it is one grade higher than the original design strength grade. Leave a hole with diameter 120 mm in the middle of the lower pre-buried plate as the pouring mouth. In order to ensure the quality of concrete pouring, use an inserted vibrating bar to vibrate, at the same time, use a mallet to knock the side plate as the assisted vibration.
Before the concrete sets, use a clean particle size of 40mm gravel to fill the pouring mouth. Once again manual reinforcement rammed to ensure that the lower supporting pier concrete is fully dense. As shown in Figure 10.

After pouring, immediately check the horizontal and axial position of the lower pre-buried plate again. If there is deviation, make proper adjustment in time and keep relevant records. According to the requirements of "isolation construction norms" and "Fujian Province isolation construction regulations", after the concrete strength has reached 75% of the design strength, the surface of the lower pre-buried plate can be cleaned and polished, and then re-painted the damaged paint protective film. Finally install the isolation bearing.
4.4 Installation, leveling and fixed isolation bearing
(1) The isolation bearing is composed of its body, the upper and lower connected steel plates. The upper and the lower pre-buried plate are with the bolt sleeves and fixed anchors. The isolation bearing must be connected with the upper and the lower pre-buried plate by bolt sleeves. First, connect the lower pre-buried plate with the connection plates of isolation bearing, and then make the bolts tightened but not locked, and finally, make the upper plate and the isolation bearing as a whole to be hoisted. As shown in Figure 11.
(2) The selection of wheeled car cranes: according to the characteristics of the project and the conditions of the construction site, the car needs to meet the requirements as following: maximum arm length: 20 m, lifting height: 10 m, weight: 600 kg, carrying capacity:8 T.
(3) Lifting process: on the basis of hanging point which provided by the manufacturers to install the spreader. Do not allow the rubber bearings to collide with the hard objects. Do not allow to single ring lifting or tilt the hoisting. Do not use the connection screw for lifting. The isolation bearings need to be hoisted to the specified location. As shown in Figure 12.

(4)After the isolation bearing is in place, the high point of the isolation bearings should be made to correspond to the low point of column so that can reduce the error from the height and level accumulation, and should be with the plane position, the top elevation and the top level of the isolation bearings. The installation of the isolation bearing should make sure the bearing and the lower connection plate are closed.
(5)When fixing the bearings, the bolts should be symmetrical and tightened to make sure each bolt has the ability of locking torque. (The needle of the torque wrench should refer to the desired value).Screw again after removing the temporary support.
(6)After finishing the bearing installation, clean off the surface stains of the isolation bearings, repair damaged parts, and inspect in time. After acceptance, the isolation should be taken the appropriate protective measures. Putting the plywood in the surrounding for protection is a common measure.
(7)In the late period of bearing installation, the bearing connection plates should be closed with the lower pre-buried plate of the upper and column. When the panel gap is greater than 1mm, the bolt shall be tightened until the gap is less than or equal to 1mm, and the gap can be filled with the epoxy resin.
4.5 Bearing upper structure template and steel bar works
(1) During the template of bearing adjacent superstructure and concrete construction, the concrete vibrations may lead to deformation of the bearing. When the isolation layer move horizontally, it is unfavorable for the construction and use of isolation buildings. Therefore, it is necessary to take measures the temporary fixing measures for the isolation layer. The common practice is using Φ25 steel inclined cable welding for each direction,as shown in Figure 13,when construction is completed, and then cut off the cable-stayed steels.
(2) During supporting the upper supporting pier (column) template, take the upper pre-buried plate as the bottom mold, support the structure above the bearing, the size of the upper pre-buried plate and the size of the sectional dimension of the upper supporting pier need to be matched, and avoid using of the plywood to repair template gap work. As shown in Figure14.

(3) Do it in turn: tie up the steel bar of the upper supporting pier, support the side mold and beam bottom mold of the upper supporting pier, tie up the beam steel bars, support the top plate bottom mold, tie up the top steel bars of the isolation layer.
(4) The installation of the upper pre-buried plate on the supporting pier (column) shall ensure that the height of the concrete floor of the upper supporting pier is not lower than the top elevation of the pre-buried plate, that is, the elevation of the top surface should be lower than the surface of the concrete and exposed to more than 5mm.
(4) In the construction of the adjacent superstructure of the bearing until the completion of the project, the vertical and horizontal deformation of the bearings shall be monitored regularly and the corresponding records shall be retained. The construction of bearing adjacent to the upper structure should be observed once a week until the main construction is completed. At the time of renovation construction, it can be observed every 2 to 3 week until the construction is completed.
4.6 The concrete pouring of the upper beam plate structure
The upper part of the isolation bearing is composed of upper supporting pier and the upper beam plate structure. The upper beam structure is the rib beam floor.The two-storey pre-buried pillars are very dense in the joint between the upper supporting pier and the upper structure beam,
The original design height of the upper supporting pier bottom (frame beam bottom) is only 100 mm, after consultation with the design unit, it changes into 200 mm. So that the sleeves of the upper pre-buried plate do not collide with the steel bar of the frame beam.
The main construction process of concrete pouring in the upper beam slab structure is as follows:
(1) The horizontal and axial location of the upper pre-buried plate on the isolation bearing shall be re-examined to meet the requirements before pouring the concrete on the upper beam structure of the bearing.
(2) The upper supporting pier (column) and the upper structure of the beam plate need to pour as a whole. The steel bars in the joint of the upper supporting pier and beam board nodes are very dense. In order to ensure the quality of concrete, the requirements of concrete should be use the fine stone concrete with high design requirements and high mobility during pouring on the upper supporting pier concrete.
(3) Carefully pouring concrete After the construction is completed, corresponding measures should be taken in time for maintenance to make sure the quality of concrete. As shown in Figure 15.

Figure 15 Upper structure beam plate steel bar and the concrete Construction
The isolation structure in this building also includes:
The elevator is suspended from the second floor. It is surrounded by a 300 mm wide horizontal seam. The stairwells are arranged from the overhead floor and are designed with 250 mm wide horizontal seams and 30 mm high vertical seams.
The construction practices have much differences with the non-seismic buildings. In addition, the equipment piping and wires through the isolation layer are reserved for flexible connection to ensure that the isolation building has a reliable horizontal displacement space. This article is limited, so the isolation structure of the construction do not do further analysis.
5.Conclusion
Based on the field tracking record from the construction process in columns’ top isolation complex building and the analysis the construction process of independent column, upper and lower supporting piers and the upper beam plate structure, conclusions are as follows:
(1)Analysis the upper and lower pre-buried plate and isolation bearing installation and take the construction measures.
(2)The method of concrete construction of upper and lower supporting piers are put forward to ensure the compactness and reliability of concrete.
(3)Construction and coordination should be filled between the designers and the workers during the construction to solve the problems that node-reinforced and partially designed construction may affect construction quality.